Vòng Bi Chuyên Dùng Cho Gối Đỡ (1)
Sản phẩm Mũi Taro Thẳng Nachi (L6868) M4x0.7 là công cụ cắt gọt ren chuyên dụng đến từ thương hiệu Nachi-Fujikoshi lừng danh của Nhật Bản. Đây là dòng mũi taro rãnh thẳng, được thiết kế đặc thù để xử lý các lỗ thông (through holes). Cơ chế hoạt động của mũi taro này là cuộn phoi và đẩy chúng đi thẳng xuống phía dưới, giúp quá trình tạo ren diễn ra mượt mà mà không lo kẹt phoi bên trong lòng lỗ.
Được chế tạo từ vật liệu thép gió pha Coban cao cấp HSS-E, mũi taro L6868 M4 không chỉ đảm bảo độ cứng vững khi làm việc ở tốc độ cao mà còn có khả năng chịu nhiệt cực tốt. Sản phẩm này là mắt xích quan trọng trong các tổ lắp ráp CNC, các xưởng cơ khí chính xác đòi hỏi bước ren M4 chuẩn 0.7mm trên nhiều loại vật liệu từ thép cacbon đến inox.
Mecsu Pro cung cấp bảng dữ liệu kỹ thuật chính xác cho mã sản phẩm L6868M040070, giúp thợ kỹ thuật chọn đúng máy gia công:
| Thuộc tính kỹ thuật | Thông số cụ thể |
|---|---|
| Mã đặt hàng (SKU) | 0051724 |
| MPN | L6868M040070 |
| Hãng sản xuất | NACHI (Nhật Bản) |
| Kích thước ren | M4 |
| Bước ren (P) | 0.7 mm |
| Chiều dài tổng (L) | 52 mm |
| Độ dài phần cắt | 13 mm |
| Kích thước cán | 5 mm |
| Kiểu đuôi | Chân vuông (Square) |
| Chất liệu | HSS-E (Thép gió Coban) |
| Số rãnh | 3 rãnh thẳng |
| Giá tham khảo | 149,740 đ / Cái |
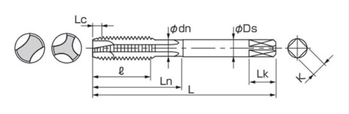
Cấu tạo của mũi taro L6868 M4x0.7 được chia thành ba phần chuyên biệt, đảm bảo tính ổn định tối đa:
Sự khác biệt lớn nhất giữa mũi taro Nachi và các dòng phổ thông chính là vật liệu HSS-E:
Hiệu quả của mũi taro rãnh thẳng Nachi được thể hiện qua chất lượng lỗ ren thành phẩm:
Với thiết kế 3 rãnh cắt đối xứng, lực cắt được giữ cân bằng tuyệt đối, hạn chế hiện tượng lệch tâm lỗ ren. Đặc biệt, đối với các lỗ thông, phoi vụn được đẩy xuống dưới liên tục, không gây bám dính vào rãnh taro. Kết quả là bề mặt ren M4 sau gia công đạt được độ mịn cao, bước ren chuẩn xác, giúp việc bắt bulong m4 trở nên vô cùng dễ dàng và chắc chắn.
Nachi cung cấp dải sản phẩm rộng để đáp ứng mọi nhu cầu tạo ren:
Mũi taro Nachi M4x0.7 là trợ thủ đắc lực trong nhiều dây chuyền sản xuất:

Việc chọn đúng loại mũi taro theo kiểu lỗ sẽ bảo vệ dụng cụ của bạn khỏi hư hỏng:
| Tiêu chí | Mũi Taro Thẳng (L6868) | Mũi Taro Xoắn (L6864) |
|---|---|---|
| Kiểu lỗ phù hợp | Lỗ thông (Through Hole) | Lỗ bít (Blind Hole) |
| Hướng thoát phoi | Đẩy phoi xuống phía dưới | Móc phoi kéo lên phía trên |
| Khả năng gia công | Mạnh mẽ, tốc độ cao | Yêu cầu kiểm soát lực tốt hơn |
| Ưu điểm | Ít kẹt phoi trong lỗ thông | Không đọng phoi ở đáy lỗ bít |
Để kéo dài tuổi thọ mũi taro M4 Nachi, hãy tuân thủ quy trình sau:
Sản phẩm Nachi M4x0.7 tại Mecsu Pro luôn đảm bảo nguồn gốc với các đặc điểm:
Mecsu Pro cam kết cung cấp sản phẩm với mức giá tốt nhất, đi kèm chính sách chiết khấu linh hoạt cho các xưởng CNC và tổ lắp ráp khi mua số lượng lớn hoặc theo bộ.
MUA THÊM CÁC LOẠI MŨI TARO THẲNG KHÁC TẠI MECSU
Hoàn toàn được. Nhờ vật liệu thép gió Coban HSS-E, mũi taro Nachi L6868 có độ bền nhiệt và độ cứng cao, rất phù hợp để tạo ren trên các loại thép khó gia công như inox 304 hay thép hợp kim.
Theo tiêu chuẩn hệ mét, bạn cần sử dụng mũi khoan mồi có đường kính 3.3 mm. Việc dùng mũi khoan quá lớn sẽ làm ren bị yếu, còn mũi khoan quá nhỏ sẽ gây nặng tải và dễ gãy mũi taro.
Do thiết kế rãnh thẳng và góc cắt đầu taro, phoi khi được tạo ra sẽ tự động cuộn lại và hướng theo lực đẩy của mũi taro để đi xuống phía dưới. Đây là lý do nó được gọi là taro lỗ thông.
Rất bền. Mũi taro Nachi Nhật Bản sử dụng vật liệu HSS-E chuẩn và công nghệ nhiệt luyện tiên tiến, cho tuổi thọ cao gấp 5-10 lần các dòng taro thép thường, giúp bề mặt ren mịn và chuẩn xác tuyệt đối.
Quý khách cần tư vấn bảng tra mũi khoan hoặc giải pháp taro ren cho vật liệu đặc biệt? Đội ngũ Mecsu Pro luôn sẵn sàng:
Địa chỉ kho: B28/I - B29/I Đường số 2B, KCN Vĩnh Lộc, P. Bình Hưng Hòa B, Q. Bình Tân, TP.HCM
Hotline: 1800 8137
Email liên hệ: sales@mecsu.vn
Website chính thức: mecsu.vn
Khi taro vật liệu cứng như thép hoặc inox, nhiệt lượng sinh ra tại đỉnh ren rất lớn. Sử dụng dầu làm mát chuyên dụng không chỉ giúp mũi taro bền hơn mà còn làm bề mặt ren bóng mịn, không bị cháy xám.
“Lỗi gãy mũi taro M4 thường gặp nhất không phải do mũi taro yếu mà do sự lệch tâm giữa máy gia công và lỗ khoan. Hãy đảm bảo mũi taro được kẹp vuông góc hoàn toàn để tránh lực bẻ ngang làm gãy dụng cụ của bạn.”
— Chia sẻ từ chuyên gia phòng kỹ thuật Mecsu Pro.
(Tìm hiểu thêm các giải pháp gia công ren tại Mecsu.vn)
BẢNG TRA MŨI KHOAN CHO TARO HỆ MET
| Mũi Taro | Mũi Khoan (mm) | Đường Kính Mũi Khoan (mm) Max. | Đường Kính Mũi Khoan (mm) Min. |
|---|---|---|---|
| M2x0.4 | 1.6 | 1.679 | 1.567 |
| M2x0.25 | 1.75 | 1.785 | 1.729 |
| M2.2x0.45 | 1.75 | 1.838 | 1.713 |
| M2.2x0.25 | 1.95 | 1.985 | 1.929 |
| M2.2x0.4 | 1.9 | 1.979 | 1.867 |
| M2.3x0.25 | 2.05 | 2.061 | 2.001 |
| M2.5x0.45 | 2.1 | 2.138 | 5.013 |
| M2.5x0.35 | 2.2 | 2.221 | 2.121 |
| M2.6x0.45 | 2.2 | 2.238 | 2.113 |
| M2.6x0.35 | 2.2 | 2.246 | 2.186 |
| M3x0.5 | 2.5 | 2.599 | 2.459 |
| M3x0.35 | 2.7 | 2.721 | 2.621 |
| M3.5x0.6 | 2.9 | 3.01 | 2.85 |
| M3.5x0.35 | 3.2 | 3.221 | 3.121 |
| M4x0.7 | 3.3 | 3.422 | 3.242 |
| M4x0.5 | 3.5 | 3.599 | 3.459 |
| M4.5x0.75 | 3.8 | 3.878 | 3.688 |
| M4.5x0.5 | 4 | 4.099 | 3.959 |
| M5x0.8 | 4.2 | 4.334 | 4.134 |
| M5x0.5 | 4.5 | 4.599 | 4.459 |
| M6x1 | 5 | 5.153 | 4.917 |
| M6x0.75 | 5.3 | 5.378 | 5.188 |
| M6x0.5 | 5.5 | 5.55 | 5.4 |
| M7x1 | 6 | 6.153 | 5.917 |
| M7x0.75 | 6.3 | 6.378 | 6.188 |
| M7x0.5 | 6.5 | 6.55 | 6.4 |
| M8x1.25 | 6.8 | 6.912 | 6.647 |
| M8x1 | 7 | 7.153 | 6.917 |
| M8x0.75 | 7.3 | 7.378 | 7.188 |
| M8x0.5 | 7.5 | 7.52 | 7.4 |
| M9x1.25 | 7.8 | 7.912 | 7.647 |
| M9x1 | 8 | 8.153 | 7.917 |
| M9x0.75 | 8.3 | 8.378 | 8.188 |
| M10x1.5 | 8.5 | 8.676 | 8.376 |
| M10x1.25 | 8.8 | 8.912 | 8.647 |
| M10x1 | 9 | 9.153 | 8.917 |
| M10x0.75 | 9.3 | 9.378 | 9.188 |
| M10x0.5 | 9.5 | 9.52 | 9.4 |
| M11x1.5 | 9.5 | 9.676 | 9.376 |
| M11x1 | 10 | 10.153 | 9.917 |
| M11x0.75 | 10.3 | 10.378 | 10.188 |
| M12x1.75 | 10.3 | 10.441 | 10.106 |
| M12x1.5 | 10.5 | 10.676 | 10.376 |
| M12x1.25 | 10.8 | 10.912 | 10.647 |
| M12x1 | 11 | 11.153 | 10.917 |
| M12x0.5 | 11.5 | 11.52 | 11.4 |
| M14x2 | 12 | 12.21 | 11.835 |
| M14x1.5 | 12.5 | 12.676 | 12.376 |
| M14x1 | 13 | 13.153 | 12.917 |
| M15x1.5 | 13.5 | 13.673 | 13.376 |
| M15x1 | 14 | 14.153 | 13.917 |
| M16x2 | 14 | 14.21 | 13.835 |
| M16x1.5 | 14.5 | 14.676 | 14.376 |
| M16x1 | 15 | 15.153 | 14.917 |
| M17x1.5 | 15.5 | 15.676 | 15.376 |
| M17x1 | 16 | 16.153 | 15.917 |
| M18x2.5 | 15.5 | 15.744 | 15.294 |
| M18x2 | 16 | 16.21 | 15.835 |
| M18x1.5 | 16.5 | 16.676 | 16.376 |
| M18x1 | 17 | 17.153 | 16.917 |
| M20x2.5 | 17.5 | 17.744 | 17.294 |
| M20x2 | 18 | 18.21 | 17.835 |
| M20x1.5 | 18.5 | 18.676 | 18.376 |
| M20x1 | 19 | 19.153 | 18.917 |
| M22x2.5 | 19.5 | 19.744 | 19.294 |
| M22x2 | 20 | 20.21 | 19.835 |
| M22x1.5 | 20.5 | 20.673 | 20.376 |
| M22x1 | 21 | 21.153 | 20.917 |
| M24x3 | 21 | 21.252 | 20.752 |
| M24x2 | 22 | 22.21 | 21.835 |
| M24x1.5 | 22.5 | 22.676 | 22.376 |
| M24x1 | 23 | 23.153 | 22.917 |
| M25x2 | 23 | 23.21 | 22.835 |
| M25x1.5 | 23.5 | 23.676 | 23.376 |
| M25x1 | 24 | 24.153 | 23.917 |
| M26x1.5 | 24.5 | 24.676 | 24.376 |
| M27x3 | 24 | 24.252 | 23.752 |
| M27x2 | 25 | 25.21 | 24.835 |
| M27x1.5 | 25.5 | 25.676 | 25.376 |
| M27x1 | 26 | 26.153 | 25.917 |
| M28x2 | 26 | 26.21 | 25.835 |
| M28x1.5 | 26.5 | 26.676 | 26.376 |
| M28x1 | 27 | 27.153 | 26.917 |
| M30x3.5 | 26.5 | 26.771 | 26.211 |
| M30x3 | 27 | 27.252 | 26.752 |
| M30x2 | 28 | 28.21 | 27.835 |
| M30x1.5 | 28.5 | 28.676 | 28.376 |
| M30x1 | 29 | 29.153 | 28.917 |
| M32x2 | 30 | 30.21 | 29.835 |
| M32x1.5 | 30.5 | 30.676 | 30.376 |
| M33x3.5 | 29.5 | 29.771 | 29.211 |
| M33x3 | 30 | 30.252 | 29.752 |
| M33x2 | 31 | 31.21 | 30.835 |
| M33x1.5 | 31.5 | 31.676 | 31.376 |
| M35x1.5 | 33.5 | 33.676 | 33.376 |
| M36x4 | 32 | 32.27 | 31.67 |
| M36x3 | 33 | 33.252 | 32.752 |
| M36x2 | 34 | 34.21 | 33.835 |
| M36x1.5 | 34.5 | 34.676 | 34.376 |
| M38x1.5 | 36.5 | 36.676 | 36.376 |
| M39x4 | 35 | 35.27 | 34.67 |
| M39x3 | 36 | 36.252 | 35.752 |
| M39x2 | 37 | 37.21 | 36.835 |
| M39x1.5 | 37.5 | 37.676 | 37.376 |
| M40x3 | 37 | 37.252 | 36.752 |
| M40x2 | 38 | 38.21 | 37.835 |
| M40x1.5 | 38.5 | 38.676 | 38.376 |
| M42x4.5 | 37.5 | 37.799 | 37.129 |
| M42x4 | 38 | 38.27 | 37.67 |
| M42x3 | 39 | 39.252 | 38.752 |
| M42x2 | 40 | 40.21 | 39.835 |
| M42x1.5 | 40.5 | 40.676 | 40.376 |
| M45x4.5 | 40.5 | 40.799 | 40.129 |
| M45x4 | 41 | 41.27 | 40.67 |
| M45x3 | 42 | 42.252 | 41.752 |
| M45x2 | 43 | 43.21 | 42.853 |
| M45x1.5 | 43.5 | 43.676 | 43.376 |
| M48x5 | 43 | 43.297 | 42.587 |
| M48x4 | 44 | 44.27 | 43.67 |
| M48x3 | 45 | 45.252 | 44.752 |
| M48x2 | 46 | 46.21 | 45.835 |
| M48x1.5 | 46.5 | 46.676 | 46.376 |
| M50x3 | 47 | 47.252 | 46.752 |
| M50x2 | 48 | 48.21 | 47.835 |
| M50x1.5 | 48.5 | 48.676 | 48.376 |
