Đánh giá CHI TIẾT về Đai ốc Lục giác Thép Đen Cấp Bền 8.8 DIN934 M6
Mục Lục
- 1. Đai ốc Thép Đen 8.8 DIN934 M6 là gì và có đặc điểm gì nổi bật?
- 2. Thông số kỹ thuật chi tiết của Tán Thép Đen M6 Cấp Bền 8.8
- 3. Cấu tạo của Đai ốc Thép Đen M6 gồm những phần nào?
- 4. Ý nghĩa các ký hiệu cấp bền 8.8 trên Đai ốc là gì?
- 5. Cường độ chịu lực của Tán Thép Đen M6 (8.8) là bao nhiêu?
- 6. Phân loại Đai ốc Thép Đen 8.8 theo hình dạng như thế nào?
- 7. Ưu và nhược điểm của Đai ốc Thép Đen 8.8 DIN934 M6 là gì?
- 8. Đai ốc Thép Đen M6 được ứng dụng trong những lĩnh vực nào?
- 9. Đai ốc Thép Đen 8.8 có chịu được nhiệt độ cao không?
- 10. Hướng dẫn lắp đặt và tháo gỡ Đai ốc Thép Đen đúng cách?
- 11. Làm thế nào để phân biệt Tán Thép Đen Cấp Bền 8.8 chính hãng với hàng giả?
- 12. Giá bán & gợi ý mua Đai ốc Thép Đen 8.8 DIN934 M6 chính hãng ở đâu?
- 13. FAQ về Tán Thép Đen 8.8 DIN934 M6
- 14. Liên hệ và hỗ trợ tư vấn về Phụ kiện Lắp xiết Công Nghiệp
- 15. Thông Tin Bổ Sung & Kinh Nghiệm Thực Tế từ Mecsu
1. Đai ốc Thép Đen 8.8 DIN934 M6 là gì và có đặc điểm gì nổi bật?
Đai ốc Thép Đen 8.8 DIN934 M6 là một chi tiết lắp xiết cơ khí thuộc nhóm Tán Lục Giác tiêu chuẩn. Sản phẩm này được chế tạo từ loại thép carbon chất lượng cao, đã trải qua quy trình xử lý nhiệt nghiêm ngặt để đạt cấp bền cơ học 8.8, và tuân thủ hoàn toàn tiêu chuẩn kích thước DIN 934.
Kích thước M6 biểu thị đường kính ren danh nghĩa là 6mm. Đây là một trong những kích thước thông dụng nhất, tạo ra các liên kết có độ tin cậy và sức chịu tải trọng lớn. Đặc điểm nhận dạng là lớp bề mặt được xử lý bằng phương pháp Nhiệt Luyện (Màu Đen), giúp tăng độ cứng bề mặt và tạo ra vẻ ngoài công nghiệp. Đai ốc M6 Thép Đen 8.8 là lựa chọn ưu tiên cho các kết cấu yêu cầu sức kẹp chặt vượt trội và khả năng chống nới lỏng cơ học.
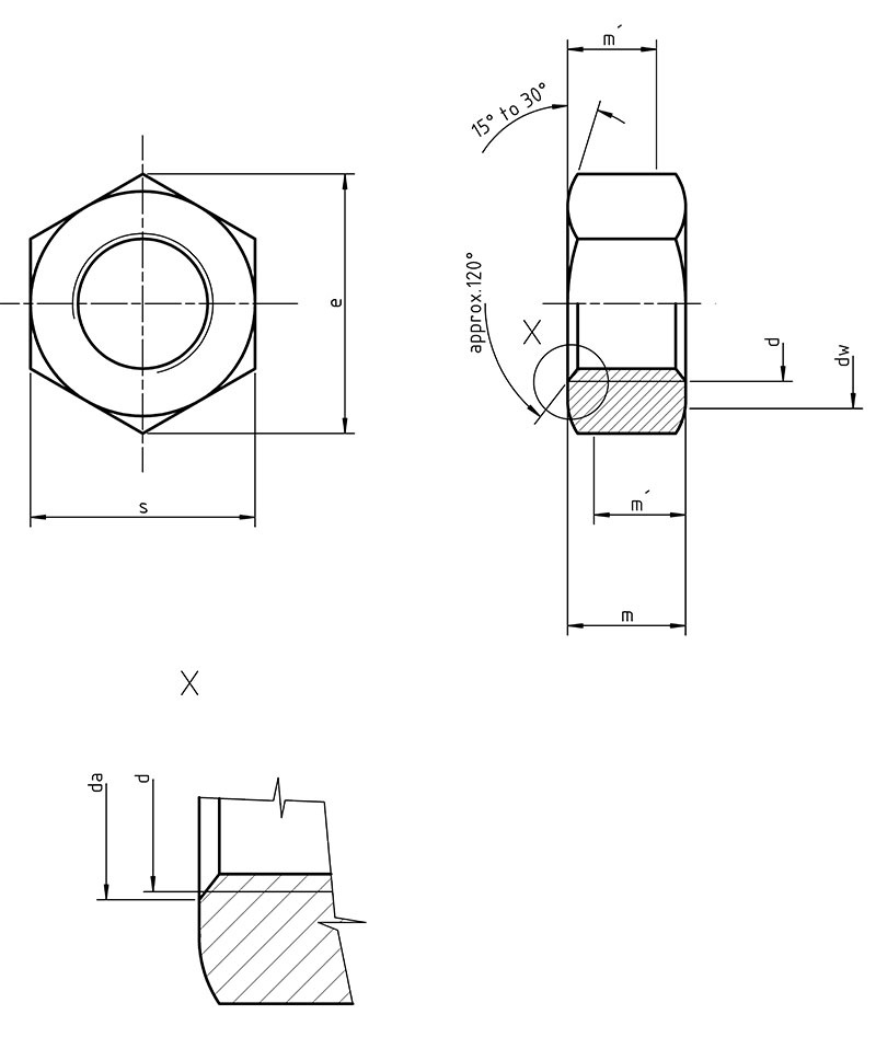
2. Thông số kỹ thuật chi tiết của Tán Thép Đen M6 Cấp Bền 8.8
d: Đường kính ren
m: Độ dày
s: Size khóa
Thông số
|
Giá trị
|
Mã đặt hàng
|
0061297
|
Mã sản phẩm
|
N01M0601D10
|
Hệ kích thước
|
Met
|
Loại sản phẩm
|
Tán Lục Giác Tiêu chuẩn
|
Tiêu chuẩn
|
DIN 934
|
Size ren (d)
|
M6
|
Bước ren
|
1 mm
|
Độ dày (m)
|
5 mm
|
Size khóa (s)
|
10 mm
|
Loại Ren
|
Thô
|
Chiều Ren
|
Ren Phải
|
Vật liệu
|
Thép 8.8
|
Xử lý bề mặt
|
Nhiệt Luyện (Đen)
|
Xuất xứ
|
Trung Quốc
|
3. Cấu tạo của Đai ốc Thép Đen M6 gồm những phần nào?
Đai ốc Thép Đen Cấp Bền 8.8 M6 có cấu tạo đơn giản theo tiêu chuẩn DIN 934, được thiết kế để tối đa hóa độ bền cơ học:
- Thân Đai ốc Lục giác: Phần thân có kích thước khóa (Size khóa) là 10mm, đây là kích thước tiêu chuẩn cho cờ lê M6. Với chiều dày 5mm, thân đai ốc đảm bảo đủ độ sâu cho ren ăn khớp, giúp duy trì lực siết cao và chống lại ứng suất cắt khi hoạt động.
- Lỗ Ren Trong: Ren trong được gia công chính xác theo hệ Mét, kích thước M6 với bước ren thô 1 mm. Độ chính xác của ren là cực kỳ quan trọng để đảm bảo khả năng tương thích với bulong và truyền tải lực kẹp hiệu quả.
4. Ý nghĩa các ký hiệu cấp bền 8.8 trên Đai ốc là gì?
Ký hiệu cấp bền 8.8 là thông số chủ chốt, xác định khả năng chịu lực của đai ốc M6 này, dựa trên các tiêu chuẩn quốc tế cho chi tiết lắp xiết:
- Số 8 đầu tiên: Cho biết giới hạn bền kéo tối thiểu (Tensile Strength) là 800 mpa
- Số .8 sau dấu chấm: Là tỷ lệ phần trăm (80%) giữa Giới hạn Chảy (Yield Strength) và Giới hạn Bền Kéo.
- Giới hạn chảy tối thiểu của đai ốc cấp bền 8.8 là640 Mpa
Cấp bền 8.8 mang lại độ cứng và độ tin cậy vượt trội, lý tưởng để tạo ra các liên kết chịu lực chính trong các kết cấu kỹ thuật quan trọng.

5. Cường độ chịu lực của Tán Thép Đen M6 (8.8) là bao nhiêu?
Tán Thép Đen M6 cấp bền 8.8 sở hữu cường độ chịu lực đáng tin cậy nhờ quá trình tôi luyện thép carbon:
- Giới hạn Bền Kéo Tối thiểu: 800 MPa.
- Giới hạn Chảy Tối thiểu: 640 MPa.
Cường độ cao này cho phép đai ốc M6 chịu được mô-men xoắn siết chặt lớn, tạo ra lực kẹp (preload) mạnh mẽ, vượt xa các loại đai ốc thép cấp thấp hơn hoặc đai ốc inox thông thường. Khả năng này giúp liên kết M6 duy trì độ chặt và chống lại sự nới lỏng dưới tác động của rung động hoặc tải trọng thay đổi.
6. Phân loại Đai ốc Thép Đen 8.8 theo hình dạng như thế nào?
Đai ốc Thép Cấp Bền 8.8 được phân loại theo nhiều hình dạng khác nhau, tùy thuộc vào môi trường làm việc và yêu cầu chức năng của liên kết:
Phân loại tiêu chuẩn chung:
- Đai ốc Lục giác Tiêu chuẩn (DIN 934): Là loại M6 đang xét, được ứng dụng rộng rãi nhất do tính đa dụng và dễ lắp đặt.
- Đai ốc Khóa (Self-Locking Nut): Dùng trong môi trường rung động, bao gồm Nylock (có vòng nhựa) hoặc All-metal Lock Nut (khóa bằng biến dạng kim loại).
- Đai ốc Vành (Flange Nut): Có thêm vành rộng, giúp loại bỏ nhu cầu sử dụng long đền phẳng.
Phân loại theo bề mặt bảo vệ:
- Đai ốc Thép Đen (Nhiệt Luyện): Ưu tiên độ bền cơ học, thích hợp cho môi trường khô và kín.
- Đai ốc Thép Mạ Kẽm: Có lớp mạ chống ăn mòn điện hóa, dùng cho môi trường ẩm hoặc ngoài trời.
7. Ưu và nhược điểm của Đai ốc Thép Đen 8.8 DIN934 M6 là gì?
Đai ốc M6 Thép Đen 8.8 là một linh kiện có nhiều ưu điểm vượt trội nhưng cũng tồn tại một số hạn chế cần được quản lý:
Ưu điểm:
- Sức bền kéo cao: Cấp bền 8.8 đảm bảo liên kết M6 có thể chịu được mô-men xoắn siết cao và tải trọng tĩnh/động lớn một cách ổn định.
- Kích thước tiêu chuẩn M6: Dễ dàng tìm kiếm phụ kiện đi kèm (bulong, long đền) và dụng cụ chuyên dụng (cờ lê 10mm).
- Chi phí hợp lý: Cung cấp độ bền cao với mức giá cạnh tranh hơn so với các giải pháp vật liệu đặc biệt khác.
Nhược điểm:
- Khả năng chống ăn mòn kém: Lớp xử lý nhiệt (đen) không phải là lớp bảo vệ chống gỉ sét hiệu quả. Nếu sử dụng trong môi trường ẩm ướt hoặc hóa chất, đai ốc sẽ cần được bảo vệ thêm.
- Nguy cơ hỏng ren: Cần sử dụng lực siết chính xác (Torque) để tránh làm hỏng ren của bulong hoặc đai ốc do lực quá mạnh.
8. Đai ốc Thép Đen M6 được ứng dụng trong những lĩnh vực nào?
Đai ốc M6 Thép Đen 8.8 là chi tiết lắp xiết đa dụng, được sử dụng trong các ngành công nghiệp đòi hỏi liên kết bền bỉ và chịu tải:
- Lĩnh vực Chế tạo Máy Công nghiệp: Cố định các bộ phận khung máy, bệ đỡ, và các chi tiết chịu lực trong máy ép, máy dập, và các thiết bị nặng khác.

- Ngành Ô tô và Xe máy: Dùng trong các bộ phận khung gầm, hệ thống treo, hoặc các chi tiết động cơ cần độ bền chắc cao.

- Xây dựng kết cấu thép: Ứng dụng trong các liên kết thép chịu tải trung bình, nơi môi trường làm việc khô ráo.

9. Đai ốc Thép Đen 8.8 có chịu được nhiệt độ cao không?
Đai ốc Thép Đen cấp bền 8.8 duy trì khả năng chịu lực của mình ở nhiệt độ cao hơn nhiều so với thép thông thường, nhưng có giới hạn.
Để đảm bảo liên kết không bị suy giảm cơ tính, đai ốc cấp bền 8.8 thường được khuyến nghị sử dụng dưới mức nhiệt độ $300^{\circ}C$. Khi nhiệt độ vượt quá ngưỡng này, đặc tính vật liệu thép carbon có thể bắt đầu thay đổi (mềm hóa), dẫn đến sự giảm sút đáng kể của giới hạn bền kéo và giới hạn chảy. Đối với các ứng dụng hoạt động liên tục trong môi trường nhiệt độ cực cao, các loại bu lông/đai ốc hợp kim chuyên dụng là lựa chọn thay thế an toàn hơn.
10. Hướng dẫn lắp đặt và tháo gỡ Đai ốc Thép Đen đúng cách?
Lắp đặt và tháo gỡ Đai ốc M6 Thép Đen 8.8 yêu cầu tuân thủ quy trình chuẩn để tối ưu hóa hiệu suất liên kết:
Lắp đặt:
- Sử dụng dụng cụ 10mm: Dùng cờ lê hoặc tuýp 10mm để siết. Nên dùng dụng cụ đo mô-men xoắn (Torque Wrench) để áp dụng lực siết chính xác theo tiêu chuẩn M6 của liên kết (tránh siết bằng tay cảm tính).
- Kiểm tra ren: Đảm bảo ren bulong và đai ốc sạch. Đối với thép cấp bền cao, nên bôi trơn nhẹ nhàng nếu muốn kiểm soát mô-men xoắn siết một cách chính xác nhất.
Tháo gỡ:
- Thao tác dứt khoát: Nới lỏng đai ốc bằng một lực dứt khoát ban đầu, sau đó từ từ tháo ra.
- Tránh kẹt ren: Nếu đai ốc bị kẹt do rỉ sét hoặc biến dạng nhẹ, sử dụng dầu chống gỉ hoặc chất bôi trơn có thể giúp quá trình tháo lắp dễ dàng hơn.
11. Làm thế nào để phân biệt Tán Thép Đen Cấp Bền 8.8 chính hãng với hàng giả?
Để đảm bảo mua được Tán Thép Đen M6 đủ cấp bền 8.8, cần chú ý các đặc điểm phân biệt sau, tránh nhầm lẫn với hàng giả được làm từ thép cấp bền thấp:
- Hàng thật (Thép 8.8 Nhiệt Luyện):
- Ký hiệu: Ký hiệu **8** thường được dập chìm trên bề mặt lục giác (tùy theo nhà sản xuất và quy cách), hoặc có thể kiểm tra qua chứng chỉ chất lượng (CQ).
- Độ cứng: Rất khó bị biến dạng hoặc móp méo góc lục giác khi siết bằng mô-men xoắn tiêu chuẩn M6.
- Hoàn thiện bề mặt: Màu đen lì, đồng nhất, là kết quả của quá trình xử lý nhiệt nghiêm ngặt.
- Hàng giả (Thép cấp thấp):
- Dễ bị tước ren hoặc biến dạng thân khi áp dụng mô-men xoắn của cấp 8.8.
- Bề mặt màu đen bóng, dễ bong tróc hoặc không đồng đều.
- Giá bán thường có sự chênh lệch lớn, thấp bất thường.
12. Giá bán & gợi ý mua Đai ốc Thép Đen 8.8 DIN934 M6 chính hãng ở đâu?
a. Giá Đai ốc Thép Đen 8.8 DIN934 M6 tại Mecsu: 130 đ / Cái (đã có VAT)
Liên hệ để nhận báo giá tốt nhất (giá có thể thay đổi tùy thời điểm và số lượng).
b. Gợi ý mua đai ốc chính hãng uy tín
- Chọn nhà phân phối có thương hiệu: Luôn mua hàng từ các công ty chuyên cung cấp vật tư lắp xiết công nghiệp, có khả năng cung cấp đầy đủ chứng từ chứng minh nguồn gốc và chất lượng.
- Mua tại Mecsu: Mecsu cam kết cung cấp Đai ốc Thép Đen 8.8 M6 chính hãng, đảm bảo tuân thủ tiêu chuẩn DIN 934, đạt cấp bền cơ học 8.8. Chúng tôi cung cấp giải pháp với mức giá cạnh tranh và hỗ trợ kỹ thuật tận tâm.
MUA THÊM NHIỀU LOẠI TÁN - ĐAI ỐC CHÍNH HÃNG KHÁC TẠI MECSU
13. FAQ về Tán Thép Đen 8.8 DIN934 M6
a. Đai ốc Thép Đen M6 có thể dùng ngoài trời không?
Đai ốc Thép Đen M6 không được khuyến nghị dùng trực tiếp ngoài trời hoặc trong môi trường ẩm. Bề mặt nhiệt luyện màu đen không chống gỉ. Nếu cần dùng ngoài trời, bạn nên chuyển sang loại M6 cấp bền 8.8 đã được **mạ kẽm nóng** hoặc **mạ kẽm điện phân** để tăng khả năng chống ăn mòn.
b. Tôi có cần dùng Bulong cùng cấp bền 8.8 cho Đai ốc này không?
Nên sử dụng Bulong cấp bền **8.8** hoặc cao hơn (ví dụ 10.9). Điều này đảm bảo toàn bộ liên kết có khả năng chịu tải đồng nhất và tối ưu. Nếu dùng bulong cấp thấp hơn (ví dụ 4.8), liên kết sẽ chỉ chịu được tải trọng giới hạn bởi bulong.
c. Kích thước khóa 10 mm có phải là chuẩn cho M6 không?
Kích thước khóa (Size S) 10 mm là kích thước tiêu chuẩn và được quy định rõ ràng trong DIN 934 cho Đai ốc M6. Điều này đảm bảo sự đồng bộ với các dụng cụ lắp đặt thông thường.
d. Độ dày 5 mm của M6 có đủ mạnh không?
Độ dày 5 mm là kích thước tiêu chuẩn của Đai ốc M6 theo DIN 934. Kích thước này đã được tính toán để đảm bảo số lượng vòng ren ăn khớp tối thiểu, cho phép đai ốc đạt được tải trọng siết cần thiết của cấp bền 8.8 mà không bị hỏng ren.
e. Đai ốc Thép Đen M6 có bị giảm cấp bền sau khi tháo lắp nhiều lần không?
Khả năng chịu lực của vật liệu 8.8 không bị giảm đi khi tháo lắp, nhưng ren có thể bị mòn do ma sát cao. Nên kiểm tra tình trạng ren sau mỗi lần tháo lắp, và nên thay thế nếu phát hiện dấu hiệu mòn hoặc hư hỏng đáng kể.
14. Liên hệ và hỗ trợ tư vấn về Phụ kiện Lắp xiết Công Nghiệp
Nếu bạn có nhu cầu tư vấn chuyên sâu về việc lựa chọn Đai ốc M6 cấp bền 8.8, xác định chính xác mô-men xoắn siết cho ứng dụng của mình, hoặc cần giải đáp các vấn đề kỹ thuật khác liên quan đến phụ kiện lắp xiết, hãy liên hệ với đội ngũ kỹ sư giàu kinh nghiệm của Mecsu. Chúng tôi cam kết mang đến giải pháp chính xác và tin cậy nhất.
Địa chỉ: B28/I - B29/I Đường số 2B, KCN Vĩnh Lộc, P. Bình Hưng Hòa B, Q. Bình Tân, TP.HCM
Hotline: 1800 8137
Email: sales@mecsu.vn
Website: mecsu.vn
15. Thông Tin Bổ Sung & Kinh Nghiệm Thực Tế từ Mecsu
a. Kinh Nghiệm Thực Tế & Câu Chuyện Thành Công
Đai ốc M6 Thép Đen 8.8 là thành phần then chốt trong việc cố định các chi tiết chịu tải trọng lớn, chẳng hạn như bộ phận khung và cơ cấu truyền lực trong máy móc tự động hóa cỡ vừa. Kinh nghiệm thực tế cho thấy, việc thay thế đai ốc cấp 4.8 bằng M6 8.8 đã loại bỏ được hiện tượng trượt ren và lỏng liên kết thường xuyên xảy ra trong các chu kỳ vận hành tốc độ cao, từ đó nâng cao đáng kể tuổi thọ và độ ổn định của máy móc.
b. Trích Dẫn Chuyên Gia
“M6 là kích thước mà việc kiểm soát mô-men xoắn siết (torque control) bắt đầu trở nên nghiêm ngặt. Khi dùng Đai ốc Thép Cấp Bền 8.8, việc siết quá lực không chỉ làm hỏng ren bulong mà còn có thể gây biến dạng vật liệu liên kết. Khách hàng của chúng tôi được khuyến cáo luôn sử dụng cờ lê lực để đảm bảo lực kẹp nằm trong phạm vi an toàn, tối ưu hóa độ bền của liên kết M6 mà không gây hỏng hóc không cần thiết.”— Kỹ sư cơ khí Chuyên gia kỹ thuật Mecsu (TP. Hồ Chí Minh) - Với hơn 10 năm kinh nghiệm.
c. Tài Liệu Tham Khảo và Nghiên Cứu
Nội dung chi tiết trong bài viết này được xây dựng dựa trên các tiêu chuẩn kỹ thuật quốc tế và dữ liệu thực tế:
- DIN Standard Catalog (Tiêu chuẩn DIN chính thức).
- Tài liệu kỹ thuật về các đặc tính cơ học của vật liệu thép lắp xiết (ISO 898-2).
- Kinh nghiệm thực tế từ các dự án và khách hàng của Mecsu.
Biên soạn bởi: Đội ngũ Kỹ sư Mecsu
Với hơn 10 năm kinh nghiệm chuyên sâu, đội ngũ kỹ sư của Mecsu cam kết mang đến những thông tin hữu ích và chính xác nhất.
(Xem thêm thông tin về chúng tôi tại Website Mecsu)
Lưu ý: Hình ảnh sản phẩm có thể khác biệt so với thực tế tùy theo nhà sản xuất. Vui lòng tham khảo thông số kỹ thuật chi tiết hoặc liên hệ Mecsu để có thông tin chính xác nhất về sản phẩm.